设计与制造:BS5156
结构长度:BS5156
法兰连接尺寸:BS4504、DIN2532、JIS B2212、ANSI B16.1、IS02004
EG641F(无衬里)、EG641Fs(MS)(衬氟塑料)气动隔膜阀(往复式无手操型)专用于控制非腐蚀性或强腐蚀性介质,阀体内腔表面无衬里或覆有可供选择的各种氟塑料,适用于不同工作温度和流体管路。
适用温度:≤85℃、≤100℃、≤120℃、≤150℃、(可按照衬里和隔膜材料)
压力等级:0.6、1.0、1.6
衬里层:电火花检测
实验与检验按BS6755标准
公称压力:PN阀体:PN×1.5 密封:PN×1.1
材料: 阀体:铸铁、球墨铸铁、碳钢、不锈钢 阀盖:铸铁、球墨铸铁、碳钢、不锈钢
衬里:无衬里、氟塑料 隔膜:氟塑料
阀瓣:铸铁、碳钢 气缸:铝合金、碳钢 气动薄膜:橡胶 阀杆:碳钢、不锈钢 手轮:铸铁
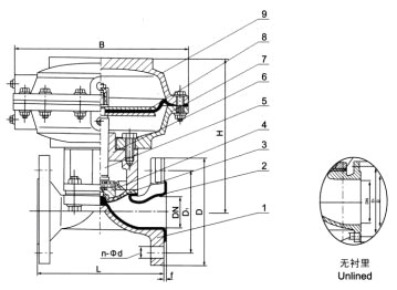
部件列表:
1、阀体2、阀体衬里3、隔膜4、阀瓣5、阀杆6、阀盖7、气缸8、气动薄膜9、气缸盖

| DN | 公称压力 | 工作压力 | L | D | D1 | n-Фd | f | H | D0 | B | 代号 | 气源 压力 |
气源接头 | 耗气量 | 重量 |
|---|---|---|---|---|---|---|---|---|---|---|---|---|---|---|---|
| 15 | 1.6 | 1.6 | 108 | 95 | 65 | 2 | |||||||||
| 20 | 117 | 105 | 75 | 4-13.5 | 2 | 136 | 140 | 168 | 54 | 0.3 | 1/8 | 163.87 | 5 | ||
| 25 | 127 | 115 | 85 | 4-13.5 | 2 | 144 | 140 | 168 | 54 | 0.3~0.4 | 1/8 | 196.65 | 6.2 | ||
| 32 | 146 | 140 | 100 | 4-17.5 | 2 | 209 | 140 | 260 | 55 | 0.3~0.4 | 1/8 | 229.4 | 7 | ||
| 40 | 259 | 150 | 110 | 4-17.5 | 2 | 227 | 140 | 260 | 55 | 0.3~0.4 | 1/4 | 1458.7 | 13 | ||
| 50 | 190 | 165 | 125 | 4-17.5 | 2 | 231 | 140 | 260 | 55 | 0.3~0.4 | 1/4 | 3162.7 | 23 | ||
| 65 | 1.0 | 1.0 | 216 | 185 | 145 | 4-17.5 | 2 | 252 | 140 | 260 | 55 | 0.3~0.4 | 1/4 | 3243 | 27 |
| 80 | 254 | 200 | 160 | 8-17.5 | 2 | 285 | 165 | 425 | 56 | 0.4~0.5 | 3/8 | 6636.8 | 56 | ||
| 100 | 305 | 220 | 180 | 8-17.5 | 2 | 360 | 280 | 425 | 57 | 0.4~0.5 | 3/8 | 6948 | 60 | ||
| 125 | 356 | 250 | 210 | 8-17.5 | 3 | 370 | 280 | 425 | 57 | 0.4~0.5 | 3/8 | 7374.2 | 68 | ||
| 150 | 406 | 285 | 240 | 8-22 | 3 | 462 | 280 | 549 | 58 | 0.5 | 3/8 | 10652 | 115 | ||
| 200 | 0.6 | 521 | 340 | 295 | 8-22 | 3 | 544 | 280 | 549 | 58 | 0.6 | 3/8 | 16715 | 196 | |
| 250 | 635 | 395 | 350 | 5 |
温馨提示:
本文中所有文字、数据、图片均只适用于参考。需要查看更多的EG641F(无衬里)、EG641Fs(MS)(衬氟塑料)气动隔膜阀(往复式无手操型)性能参数、结构尺寸参数、价格等详情,或要求印刷样本,请联系我们。